Tương lai của ngành hàng không? Rolls-Royce nộp đơn xin cấp bằng sáng chế cho hệ thống động cơ hydro
Nguồn: Airbus

Luke có hơn một thập kỷ kinh nghiệm trong vai trò là một cây bút du lịch và nhà phân tích hàng không. Là một người đam mê du lịch, sống ở Trung Đông và Châu Á, Luke mang đến những hiểu biết sâu sắc về ngành công nghiệp này. Anh hiện đang làm việc tại Đông Nam Á.
Công nghệ động cơ đã phát triển không ngừng trong thế kỷ qua, bắt đầu từ động cơ piston cho đến kỷ nguyên hiện tại của động cơ phản lực cánh quạt. Tuy nhiên, sự đổi mới luôn diễn ra ở hậu trường, và ngành công nghiệp này có thể đang trên đà giới thiệu một dạng động cơ đẩy mới sử dụng hydro làm nguồn nhiên liệu chính. Mặc dù động cơ hydro đã được phát triển trong nhiều năm, nhưng chúng vẫn còn lâu mới sẵn sàng cho việc sử dụng thương mại rộng rãi.
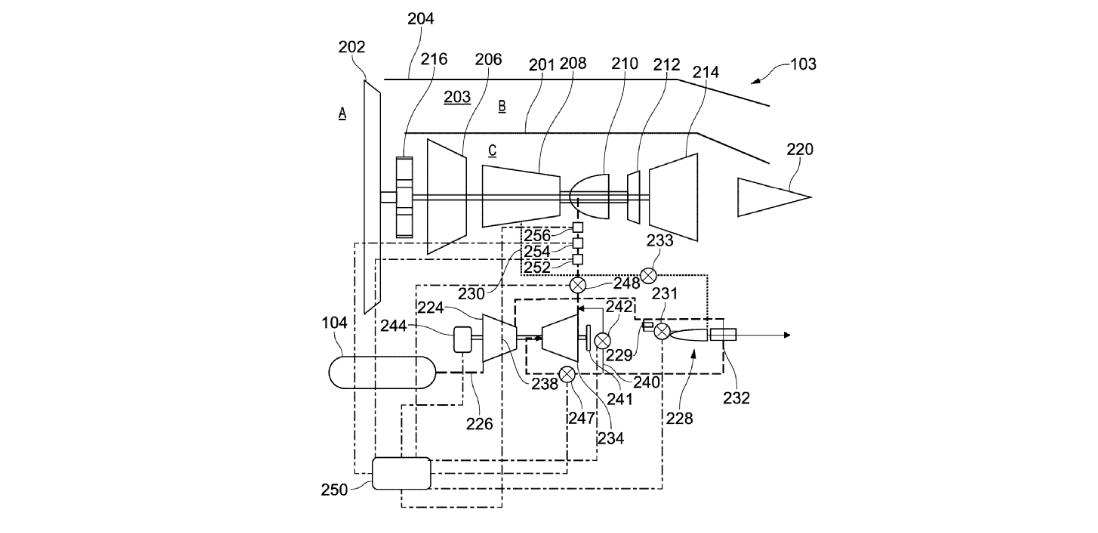
Nhà sản xuất động cơ hàng đầu Rolls-Royce đang theo đuổi các thiết kế động cơ hydro của riêng mình và gần đây đã được cấp bằng sáng chế cho một hệ thống nhiên liệu cho động cơ tua-bin khí được cấu hình để đốt cháy nhiên liệu hydro. Phương pháp tiếp cận mới lạ này đối với năng lượng hydro có thể giúp giải quyết một trong những vấn đề lớn khi sử dụng hydro lỏng làm nguồn nhiên liệu, đó là nhiệt độ cực lạnh của nó. Ý tưởng của Rolls-Royce là sử dụng tua-bin nhiên liệu để làm nóng nhiên liệu hydro trước khi nó đến động cơ, tạo ra quá trình đốt cháy ổn định hơn.
Rolls-Royce được cấp bằng sáng chế cho Hệ thống Đốt cháy Hydro Mới
Nguồn: Rolls-Royce
Theo hồ sơ xin cấp bằng sáng chế, hệ thống nhiên liệu mới của hãng bao gồm một đường ống dẫn nhiên liệu chính với một bơm nhiên liệu "được cấu hình để hoạt động bằng hydro bên trong đường ống dẫn nhiên liệu nhằm cung cấp nhiên liệu áp suất cao cho buồng đốt lõi của động cơ tua-bin khí". Hệ thống cũng sẽ bao gồm một buồng đốt phụ, đốt một phần nhiên liệu hydro để làm nóng phần nhiên liệu còn lại. Nói cách khác, đây sẽ là một hệ thống tự duy trì, chuyển một lượng nhỏ hydro từ đường ống dẫn nhiên liệu chính để làm nóng trước nhiên liệu.
Mặc dù về mặt lý thuyết, hydro là một trong những nguồn nhiên liệu sạch nhất, nhưng trên thực tế, đây là một trong những nguồn nhiên liệu khó triển khai nhất trên máy bay. Điều này là do hydro đòi hỏi thể tích lưu trữ lớn hơn so với nhiên liệu phản lực truyền thống, gây ra những vấn đề lớn cho thiết kế máy bay và cơ sở hạ tầng sân bay. Hydro lỏng cũng cần được lưu trữ ở nhiệt độ cực thấp và có quá trình cháy dễ bay hơi hơn.
Hệ thống do Rolls-Royce đề xuất sẽ giúp giải quyết cả hai vấn đề này, cung cấp một kiến trúc cung cấp nhiên liệu được kiểm soát và hiệu quả. Mặc dù pin nhiên liệu hydro đã cho thấy tính khả thi thực tế tốt hơn nhiều, nhưng quá trình đốt cháy hydro lại là một câu chuyện khác. Hydro lỏng phải được lưu trữ ở nhiệt độ -253°C, điều này có nghĩa là máy bay cần các thùng nhiên liệu cách nhiệt có thể lưu trữ an toàn. Tuy nhiên, mật độ thấp hơn của hydro so với nhiên liệu phản lực đồng nghĩa với việc các thùng này sẽ chiếm nhiều không gian hơn so với các thùng thông thường, gây đau đầu cho các nhà thiết kế máy bay.
Máy bay cỡ nhỏ và trung bình vào thập kỷ tới?
Nguồn: Rolls-Royce
Với nhiều năm phát triển và thử nghiệm nghiêm ngặt vẫn còn ở phía trước, đừng mong đợi sẽ sớm thấy các hệ thống chạy bằng nhiên liệu hydro trên một máy bay thương mại cỡ lớn. Công nghệ này trước tiên cần phải hoàn thiện trên các nền tảng nhỏ hơn trước khi có thể mở rộng lên các máy bay chở khách cỡ lớn. Rolls-Royce là một trong những công ty tiên phong trong lĩnh vực này và đang tiến hành thử nghiệm toàn diện trước khi tiến tới thử nghiệm bay.
Công ty đặt mục tiêu có động cơ chạy bằng hydro sẵn sàng cung cấp năng lượng cho máy bay cỡ nhỏ và cỡ trung từ giữa những năm 2030 trở đi, mặc dù vẫn còn một chặng đường dài phía trước. Công ty đã dành hai thập kỷ để khám phá nhiều khái niệm chạy bằng hydro khác nhau, bao gồm việc sử dụng pin nhiên liệu hydro thay thế cho năng lượng pin điện. Bắt đầu với máy bay hạng nhẹ trước cuối thập kỷ này, chúng ta có thể kỳ vọng một đội bay toàn cầu gồm 30-40 chỗ ngồi sẽ được giới thiệu vào giữa những năm 2030.
Sự kết hợp giữa công nghệ hydro và tuabin khí của Rolls-Royce sẽ mang tính cách mạng hơn, mặc dù nhà sản xuất động cơ này tin rằng điều này có thể chỉ khả thi đối với các máy bay cỡ nhỏ do sự phức tạp của quá trình đốt cháy hydro. Theo Rolls-Royce,
"Mặc dù hydro cũng có thể được sử dụng trực tiếp làm nhiên liệu trong tuabin khí, nhưng nó có thể sẽ bắt đầu ở các phân khúc bay ngắn hơn, nơi tầm bay của máy bay ngắn hơn. Do hạn chế về thể tích lưu trữ hydro và mật độ công suất hạn chế của pin nhiên liệu, đối với tầm bay xa, tuabin khí cung cấp nhiên liệu cho SAF sẽ vẫn là giải pháp khả thi nhất trong tương lai."
Ngành công nghiệp coi hydro là nhiên liệu sạch

Nguồn: Clean Aviation
Khi hydro được sử dụng trong pin nhiên liệu, nó không thải ra carbon dioxide, đó là lý do tại sao nó là một khả năng đáng mơ ước đối với ngành công nghiệp. Các hãng hàng không và sân bay đang chịu áp lực rất lớn trong việc giảm lượng khí thải carbon, trong khi chi phí tiềm năng thấp hơn so với nhiên liệu máy bay là một điểm cộng rõ ràng. Với mục tiêu đạt được mức phát thải carbon ròng bằng 0 vào năm 2050 của ngành công nghiệp, hydro là một trong những công nghệ hứa hẹn nhất đang được xem xét, mặc dù việc phát triển một máy bay chạy bằng hydro nguyên chất khó khăn hơn nhiều.

Thay vào đó, việc kết hợp hydro với các hệ thống nhiên liệu khác dường như là khả thi nhất
tùy chọn có thể. Động cơ hydro-điện đã gần như sẵn sàng đi vào hoạt động, với một số bên liên quan chính như ZeroAvia đặt mục tiêu đưa máy bay khu vực vào hoạt động sớm nhất là năm 2028.
Chương trình
Kích thước/Loại
Sức chứa
Ngày đưa vào hoạt động dự kiến
ZeroAvia (ZA600)
Máy bay khu vực/Máy bay cánh quạt nhỏ
10–20 hành khách
Giữa năm 2026
ZeroAvia (ZA2000)
Máy bay khu vực/Máy bay cánh quạt
40–90 hành khách
2027
Airbus ZEROe
Máy bay thương mại
Tối đa 200 hành khách
Gần đây bị trì hoãn
Universal Hydrogen
Máy bay cánh quạt khu vực
40 hành khách
2026–2027
H2FLY
Máy bay khu vực
30–40 hành khách
Giữa năm 2025
Dự án Horizon Europe của EU đang cung cấp khoản đầu tư cho nghiên cứu hydro của Rolls-Royce, bao gồm các kỹ sư, nhà khoa học và Thiết bị kiểm tra chuyên dụng cần thiết để thúc đẩy quá trình thử nghiệm quá trình đốt cháy hydro. Sáng kiến này đã đạt được những tiến triển vượt bậc, với việc Rolls-Royce sắp bắt đầu thử nghiệm trên mặt đất quy mô lớn một tuabin khí hydro. Rolls-Royce cũng tham gia sáng kiến Hàng không Sạch của EU, một sáng kiến đang khám phá nhiều công nghệ khác nhau để phát triển hệ thống đẩy hiệu quả hơn, thân thiện với carbon. Cụ thể, dự án CAVENDISH — viết tắt của 'Liên minh vì sự ra đời của Chiến lược Trình diễn Động cơ Hàng không và Tích hợp Máy bay với Hydro' — đang xem xét hydro như một nhiên liệu hàng không.
Tương lai Hàng không của Hydro còn chưa rõ ràng

Nguồn: H2FLY
Mặc dù hydro có triển vọng lớn như một nhiên liệu không phát thải, các bên liên quan trong ngành vẫn có quan điểm trái chiều về tiềm năng mở rộng sử dụng trên toàn cầu của nó. Bên cạnh những thách thức trong thiết kế máy bay về việc sử dụng và lưu trữ hydro, một trở ngại quan trọng khác là việc thiếu cơ sở hạ tầng toàn cầu để hỗ trợ nó. Mức sản xuất hydro khả dụng hiện tại rất thấp, và chi phí mở rộng cơ sở hạ tầng là khá lớn. Cuối cùng, các sân bay và công ty năng lượng vẫn chưa chắc chắn về việc đầu tư hàng tỷ đô la vào cơ sở hạ tầng nếu nhu cầu không thành hiện thực.
Airbus gần đây đã thông báo hoãn chương trình ZEROe, cho thấy họ có thể lùi ngày dự kiến đưa vào sử dụng năm 2035 thêm năm hoặc mười năm. Hãng sản xuất máy bay này dự kiến sử dụng máy bay Airbus A380 làm bệ thử nghiệm cho động cơ hydro, nhưng hiện đã hủy bỏ các thử nghiệm này. Airbus đã khởi động dự án ZEROe vào năm 2020 và đã tìm hiểu một số khả năng khác nhau trước khi quyết định thiết kế pin nhiên liệu. Airbus cho biết:
"Hydro có tiềm năng trở thành nguồn năng lượng mang tính chuyển đổi cho ngành hàng không. Tuy nhiên, chúng tôi nhận thấy rằng việc phát triển một hệ sinh thái hydro - bao gồm cơ sở hạ tầng, sản xuất, phân phối và khuôn khổ pháp lý - là một thách thức lớn, đòi hỏi sự hợp tác và đầu tư toàn cầu."
Cơ quan Hàng không Dân dụng Anh (CAA) đã tiết lộ rằng họ sẽ mở rộng chương trình Hydrogen Challenge, một sáng kiến cung cấp tài trợ cho các giải pháp khử cacbon trong ngành hàng không. Hầu hết các nhà phát triển đều đồng thuận rằng hydro sẽ vẫn là một nguồn bổ sung quy mô nhỏ cho nhiên liệu truyền thống, thay vì là nhiên liệu thay thế tức thời. Điều này sẽ giúp hydro trở nên hữu ích trong các hệ thống hybrid, kết hợp nó với nhiên liệu hàng không điện hoặc nhiên liệu bền vững để giảm lượng khí thải của đội bay toàn cầu.
Liệu các máy bay chở khách lớn hơn có thể chạy bằng hydro không?

Nguồn: Airbus
Chúng ta có thể sẽ chứng kiến sự gia tăng nhanh chóng mức độ phổ biến của máy bay khu vực chạy bằng điện-hydro trong những năm tới, nhưng câu hỏi vẫn còn đó là liệu công nghệ này có thể được ứng dụng trên một máy bay chở khách cỡ lớn hay không. Những người hoài nghi về tương lai của hydro trong ngành hàng không cho rằng nó quá bất khả thi đối với các chuyến bay đường dài, chiếm nhiều không gian hơn nhiên liệu phản lực thông thường. Điều này có nghĩa là các nhà khai thác sẽ phải hy sinh phạm vi hoạt động hoặc sức chứa để có thể chứa được các bình nhiên liệu lớn hơn.
Rolls-Royce đã thừa nhận rằng tính khả thi của việc tiếp nhiên liệu cho máy bay thương mại cỡ lớn, đặc biệt là máy bay thân rộng, là rất đáng ngờ do sự phức tạp về mặt kỹ thuật của việc lưu trữ hydro. Điều này sẽ đòi hỏi các thiết kế máy bay khác biệt về cơ bản để chứa lượng nhiên liệu bổ sung cần thiết để bay cùng quãng đường với máy bay phản lực chạy bằng dầu hỏa.
Liệu các nhà sản xuất có thể giải quyết được vấn đề này hay không vẫn còn phải chờ xem. Một chiếc máy bay như vậy có thể được chế tạo một cách an toàn, nhưng có thể sẽ phải đánh đổi bằng sức chứa hành khách và/hoặc tầm bay.
Vẫn còn nhiều lo ngại về sản xuất hydro xanh

Nguồn: easyJet
Mặc dù hydro chỉ giải phóng hơi nước khi được sử dụng làm nhiên liệu, nhưng điều này không có nghĩa là việc sử dụng nó hoàn toàn trung hòa carbon. Nguyên nhân là do hydro có thể được sản xuất thông qua các phương pháp gây ô nhiễm, chẳng hạn như than đá và khí đốt, vốn không đóng góp vào nỗ lực giảm thiểu carbon của ngành công nghiệp.
Hydro xanh là hình thức sản xuất hydro sạch nhất, đạt được bằng cách sử dụng điện từ các nguồn tái tạo như gió, mặt trời hoặc thủy điện. Như Rolls-Royce đã nói, "chỉ hydro được sản xuất bằng các nguồn năng lượng tái tạo mới thực sự trung hòa carbon", nhưng phần lớn hydro đang được sử dụng hiện nay được sản xuất bằng than đá và khí đốt.
Chi phí sản xuất hydro xanh hiện nay cũng cao hơn đáng kể so với sản xuất nhiên liệu hóa thạch, vì vậy vẫn chưa rõ liệu cơ sở hạ tầng có thể được xây dựng để hỗ trợ đủ sản lượng hay không. Cơ quan Năng lượng Quốc tế (IEA) dự đoán rằng hydro xanh có thể giá 1,50–2 đô la một kg vào năm 2035, khiến giá này cạnh tranh hơn với giá nhiên liệu máy bay, nhưng điều này đòi hỏi phải tăng đáng kể năng lực sản xuất hiện tại.

