Động cơ xăng này có “chôn vùi” xe điện không?
Công bố ngày 2/9/2025
Tác giả: Piet Andries

Trong khi hầu hết các hãng xe theo đuổi xe điện, nhiều nhà sản xuất vẫn tiếp tục nghiên cứu để khiến động cơ đốt trong trung hòa carbon, nhằm cạnh tranh với xe điện về môi trường. Mazda mới đây gây chú ý với một phát minh: động cơ bốn xy-lanh có thể biến xăng thành hydro để đốt, đồng thời giữ lại carbon, không thải CO2 ra ống xả. Đây là đột phá thực sự hay chỉ là ý tưởng trong phòng thí nghiệm?
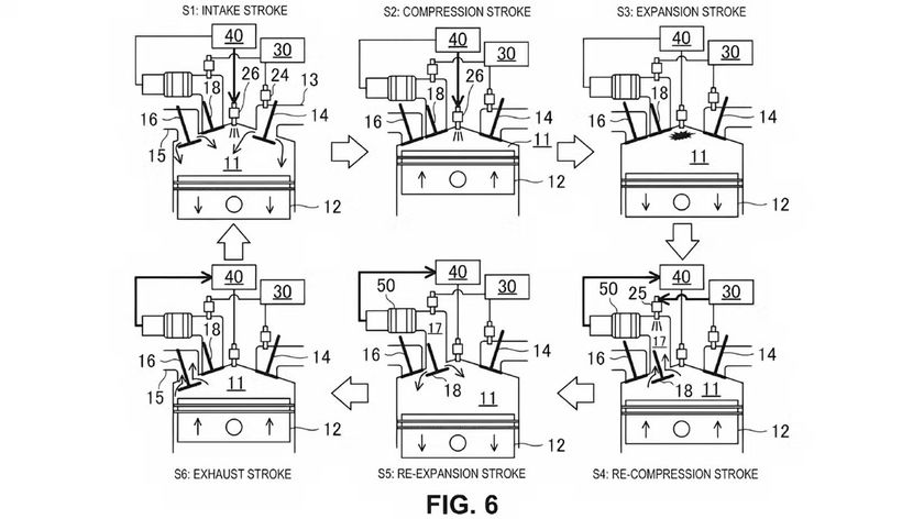
Sáu thì để đạt “không phát thải”
Một động cơ đốt trong thông thường có 4 thì: nạp – nén – nổ – xả. Mazda đã đăng ký sáng chế động cơ 6 thì, bổ sung hai giai đoạn: khí thải được dẫn vào bộ phân tách, nơi một lượng nhiên liệu bổ sung được đưa vào để “cracking” thành hydro và carbon. Hydro tiếp tục làm nhiên liệu, còn carbon được giữ lại.
→ Kết quả: xe vẫn chạy bằng xăng thường, nhưng không phát thải CO2 qua ống xả. Đây là hướng đi khác biệt so với động cơ hydro mà Mazda đang phát triển cùng Toyota.

Bẫy carbon trong cốp xe
Mỗi lít xăng chứa khoảng 0,6 kg carbon. Một bình 60 lít tạo ra 35 kg carbon cần được lưu giữ. Mazda dự kiến việc này sẽ được xử lý trong các kỳ bảo dưỡng hoặc tại trạm nhiên liệu chuyên dụng. Carbon thu được thậm chí có thể tái sử dụng trong công nghiệp, ví dụ sản xuất thép hoặc chất tạo màu, thay vì chôn lấp.
Hạn chế: hệ thống rất phức tạp — gồm nhiều kim phun, van phụ, bộ reformer nhiệt độ cao, bình chứa CO2 và hydro. Điều này làm tăng rủi ro hỏng hóc và chi phí bảo dưỡng. Ngoài ra, động cơ hydro có hiệu suất thấp hơn nhiều so với pin nhiên liệu.
![]()
Tương lai hay “cứu cánh tạm thời”?
Hiện tại, động cơ 6 thì mới chỉ ở mức bằng sáng chế. Mazda có thể áp dụng công nghệ này để duy trì các mẫu biểu tượng như MX-5 với danh nghĩa “xanh” hơn.
Tuy nhiên, tại châu Âu, từ năm 2035, luật sẽ yêu cầu không phát thải tuyệt đối. Ngay cả khi chạy bằng hydro, động cơ nổ vẫn thải một ít CO2 từ dầu bôi trơn. Do đó, tương lai của công nghệ này vẫn còn bỏ ngỏ.

